您的位置: 首页>新闻
新闻 会员 动态 政策 公平贸易 视频

前沿 | 专利显示:苹果智能眼镜比市面VR/AR头盔更轻巧舒适

2018.02.11   浏览:1517   资讯来源:深智联
0

当地时间周五,美国专利和商标局最新公布的一项专利申请显示,苹果公司已经研制出一种新的头戴式显示设备或者说智能眼镜,它可以显著缩小虚拟现实(VR)或增强现实(AR)头盔的尺寸。

QQ图片20180210151341

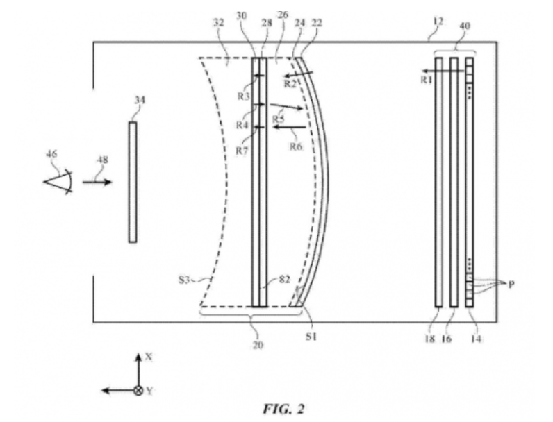
苹果的一个主要目标似乎是,研制一款比市面上的增强现实和虚拟现实设备(比如微软的HoloLens和Facebook旗下子公司Oculus的 Rift头盔)更舒适、更轻巧的头盔或眼镜。

虽然苹果并未在专利文件中披露其研发设备的名字,但该公司表示:“如果不周全考虑设计问题,那么头戴式显示设备将会十分笨拙,佩戴者会感到十分疲劳。”

QQ图片20180210151346

苹果认为,这些头戴式显示设备的光学系统体积大且笨重,长时间使用可能会很不舒服。

该公司表示,其设备使用的是一种“折射反射系统”,该系统使用曲面镜和透镜将折射和反射结合到一个单一的系统中,是光学望远镜、显微镜和长焦镜头的基础。

使用这个系统,苹果公司可能会放弃标准VR头盔中使用的放大镜。从理论上讲,这可以减轻这种产品的重量,并有助于简化其设计过程。

不过,就像大多数专利申请一样,这可能只是苹果公司的一个技术专利,并不意味着苹果一定会将它转变为成熟的技术和商品。

(参考来源:新浪科技)

联系方式

深圳市智能穿戴产业联合会

  • 地点:深圳市福田区保税区市花路3号 花样年福年广场B栋一单元302室
  • 电话: 136 9211 0349
  • 座机:82907447
  • 邮箱:fsw@ewatch.cn