您的位置: 首页>新闻
新闻 会员 动态 政策 公平贸易 视频

前沿 | 索尼新专利VR“旋转椅”来了

2019.05.07   浏览:1679   资讯来源:深智联
0

最近网上爆出索尼申请的PSVR新专利,一个能够全方位拥有沉浸感的VR新设备——我们暂且叫它“旋转椅”。

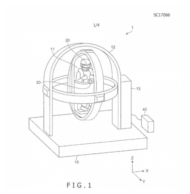
从专利示意图给出的备注来看,体验者被包裹在两个重叠但可以随意转动的圆环之内,序号“10”代表姿态控制单元,“11”为座位,“12”为使用者,“13”为驱动装置,“20”为VR眼镜显示设备,“30”为相机,“40”为信息处理设备。

很明显,这款设备能帮助玩家在VR游戏中体验到“上天入地”的感觉,通过驱动装置让玩家在该设备中改变身体的所处状态,很可能适用于在空中或者水下的游戏体验。

一般来说,并非所有的注册专利都能最终变为实际产品。不过来我们仍然期待索尼能够做出VR产品未来该有的样子。

(部分内容来源网络,由深智联秘书处整理发布,转载请标明处)

联系方式

深圳市智能穿戴产业联合会

  • 地点:深圳市福田区保税区市花路3号 花样年福年广场B栋一单元302室
  • 电话: 136 9211 0349
  • 座机:82907447
  • 邮箱:fsw@ewatch.cn