资讯

您的位置: 首页>资讯>新闻

前沿 | 微软HoloLens新专利,采用类苹果TrueDepth深度传感器

2020.01.17   浏览:1046   资讯来源:深智联

近期USPTO公开了微软公司一项新的专利“结构光和泛光灯组成的深度图像系统”。在这套专利中指出,HoloLens设备或将采用全新的深度成像系统,这套系统类似于苹果iPhone X系列手机上TrueDepth结构光的方案。

据了解,微软此前Kinect上采用了以色列PrimeSense公司的结构光技术方案。然而苹果公司于2013年收购了PrimeSense。微软不得不重新设计深度相机系统。这也是为什么微软已获深度相机系统专利和苹果TrueDepth摄像头中的泛光照明元件于点阵投影仪相似的原因。

据悉,该专利并不局限于某一类设备,例如可应用在HoloLens、Surface、Xbox,甚至智能手表上。

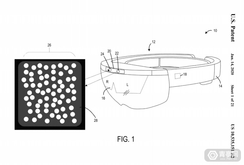
根据专利图1来看,图中设备类似HoloLens侧视图,其新的深度相机系统和苹果TrueDepth相似。

而图9则展示了该技术应用在另一种设备上,图11展示了计算深度图像的方法。

图12A是基于图11的方法由#24相机捕捉的图像示例,图12B是#24相机拍摄的主动亮度示例图。