资讯

您的位置: 首页>资讯>新闻

前沿 | 新专利显示苹果眼镜可能可以自动解锁你的iPhone

2021.01.13   浏览:1212   资讯来源:深智联

苹果即将推出的 “Apple Glass ”(苹果眼镜)可能会让用户跳过解锁iPhone,因为他们将已经通过认证。苹果目前已经获得了一项专利,就是利用 “苹果眼镜”或类似设备,自动解锁用户的其他设备。这类似于如果用户佩戴Apple Watch,Mac可能会解锁的方式。

“认证设备辅助用户认证 ”最初是在2018年申请的,现在是一项新获批的专利,涉及通过近距离认证,即通过 “苹果眼镜 ”进行一次认证,用户无需反复解锁自己的iPhone、iPad、Mac或其他设备。苹果在专利表示,许多电子设备基于对用户身份认证来限制对各种功能的访问,当多个设备同时使用时,单独解锁每个设备程序会延迟用户的访问,并降低用户体验的质量。

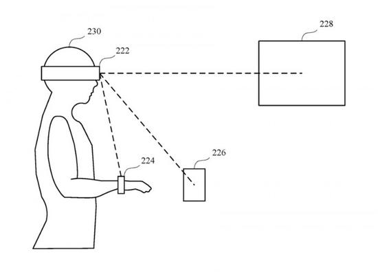
苹果提出的解决方案包括一个经过认证的设备,该设备被用户佩戴为头戴式设备。附近的近距离设备可以是iPhone、iPad Pro、Mac等。然后]认证设备可操作以检测近距离设备,以确定用户在近距离设备处于锁定状态时访问近距离设备的意图,并发出认证数据。基于认证数据,近距离设备将用户识别为经过认证的用户,并从锁定状态进入解锁状态,从而使用户可以访问设备上各种限制访问的功能。

因此,在佩戴 “苹果眼镜 ”时拿起iPhone,用户甚至不一定要看手机,就可以直接使用它,而不是输入密码或等待Face ID。苹果建议,这种专利可以有层次认证。只要在佩戴“苹果眼镜 ”时拿起iPhone或iPad,就可以进行有限的使用。这类似于目前苹果设备可以让通知出现在锁屏上,或者允许在不解锁的情况下访问控制中心。